谷歌新专利:Google Glass将配备投影功能
2014年11月05日 09:28
来源:中关村在线
美国专利商标局近日曝光了一项谷歌眼镜新专利,新一代谷歌眼镜将会内置微型投影仪,可以用作与其他用户分享图片和视频。

据外媒报道,美国专利商标局近日曝光了一项谷歌眼镜(Google Glass)新专利,谷歌在专利中表示,新一代谷歌眼镜将会内置微型投影仪,可以用作与其他用户分享图片和视频。

Google Glass新专利
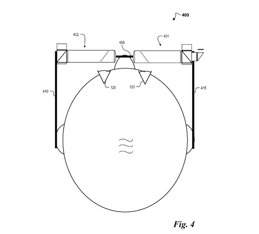
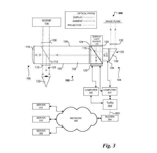
据悉,该专利文件在2013年4月就已备案,专利名为“内置投影仪的头戴式显示装置”,用途则是“与周围其他用户分享信息”,而包括专利图片在内的种种迹象表明它很可能就是谷歌下一代智能眼镜。目前谷歌已经于上周四获得认证,此外从专利图片上还可以看到升级版Google Glass的一些细节。

Google Glass新专利
另外,谷歌已经子啊今年5月份宣布,将在美国市场公开发售谷歌眼镜,售价1500美元,任何美国消费者均可以购买该设备。

Google Glass新专利
谷歌表示,“之前的公开销售为我们提供了经验,我们决定进行更开放的测试。虽然我们仍然在改善谷歌眼镜的硬件和软件性能。不过从今天开始,只要库存足够,任何美国消费者都能买到Explorers版谷歌眼镜。”![]()
29岁小伙恋上62岁老太 称做梦都梦到她
04/13 08:36
04/13 08:36
04/13 08:38
04/13 08:37
04/13 08:37
网罗天下

凤凰科技官方微信
图片新闻
视频
-
李咏珍贵私人照曝光:24岁结婚照甜蜜青涩
播放数:145391
-
金庸去世享年94岁,三版“小龙女”李若彤刘亦菲陈妍希悼念
播放数:3277
-
章泽天棒球写真旧照曝光 穿清华校服肤白貌美嫩出水
播放数:143449
-
老年痴呆男子走失10天 在离家1公里工地与工人同住
播放数:165128



