亚马逊解决了谋杀案,却暴露了智能家居设备背后的黑洞
2018年07月17日 11:45:08
来源:钛媒体APP
原标题:亚马逊解决了谋杀案,却暴露了智能家居设备背后的黑洞 图片来源:视觉中国 谁都没想到,亚马逊会
原标题:亚马逊解决了谋杀案,却暴露了智能家居设备背后的黑洞

图片来源:视觉中国
谁都没想到,亚马逊会卷进一起谋杀案并成为案件的焦点。
这是2015年11月的一天,堪萨斯州47岁的前警官Victor Collins在参加朋友James Andrew Bates组织的家庭聚会时,死在了Bates家的按摩浴缸中。是意外还是谋杀,这成为警方首先要寻找的答案。
如何知道Victor Collins死亡时家里发生了什么?警方的目光停在了Bates家的一台Amazon Echo上。
Amazon Echo—亚马逊新一代智能家居控制中心,后台连接亚马逊的人工智能平台,支持人机对话语音控制。人类通过随时呼叫“Alexa”,就可以唤醒Amazon Echo并下达控制命令,如开空调、呼叫出租车、查询电影院放映时间甚至根据关键字寻找并播报新闻。
换句话说,Amazon Echo会全天24小时处于监听状态,随时捕捉主人发出的“Alexa”声音并执行其后跟随的指令。
那么,Bates家的Amazon Echo应该也监听到Victor Collins死亡时家里的所有声音。而这些声音,全部都被Amazon Echo上传到了亚马逊的云计算平台。
堪萨斯州警方立即向亚马逊发出了搜查令,要求亚马逊提供云端保存的来自Bates家Amazon Echo上传的声音数据。

警方向亚马逊公司发出的搜查令
案件于是就在Amazon和警方就是否应该提供数据之间展开拉锯。案件的结局是嫌疑人James Bates自愿授权Amazon提供声音数据给警方。
警方最终撤销对James Bates的谋杀指控。
经过这个案件,大众才才意识到,原来亚马逊的Amazon Echo是一台不折不扣的家庭隐私信息收集器。
无论是夫妻关于政治、经济、社会乃至美食的讨论、打孩子屁股教育孩子乃至夫妻间闺房之乐的声音,都被亚马逊Amazon Echo忠实地上传到云端,成为大数据时代个人特征拼图的重要组成部分。
最重要的是,亚马逊从来都没有提及这些声音数据将保存多久,以及将用于什么样的商业用途。
我们知道,智能语音设备的标准工作方式是:平时保持开启并静默,当用户呼叫指令关键字时,智能语音设备被唤醒,并执行指令关键字后面的具体指令。
根据亚马逊以前提供的信息,智能语音设备在工作时,只会保存紧紧跟随在指令关键字后面的语音信息。未被唤醒时的语音信息不会保存并上传到云端。
但堪萨斯州的案件说明亚马逊并不是完全按照其声明处理客户声音信息的。在案发的过程中亚马逊的智能语音设备一直没有被唤醒,但是最终亚马逊的云端仍然保留了James Bates家里当晚部分的语音信息。
为什么亚马逊会保留这些非唤醒状态下的声音信息呢?虽然亚马逊没有就此做任何说明,我们仍然可以通过一些蛛丝马迹的信息猜想其未来数字化拼图的样貌。
在2014年亚马逊申请的语音交互分析与关联个性化推荐的专利(专利号US14/447487)中,有这样的内容:
“我”在和Laura通话时提到了Santa Barbara市、葡萄酒、Orange郡、海滩和圣迭戈动物园。亚马逊在随后的个性化电商平台上就会针对“我”和Laura分别推荐Santa Barbara市的地图和旅行指南、海滩毛巾和圣迭戈动物园的套票。
这种通过语音识别然后获取倾向信息的方式被称为“语音嗅探算法”(Voice Sniffer Algorithm)。客户的偏好、厌恶、趣向等信息都会在语音嗅探中被提取、标记和一一归档。

亚马逊语音交互关键字分析与关联个性化推荐
其实,除了个人偏好信息以外,智能家居设备通过声音还可以获取很多客户意想不到的隐藏信息。首先是情绪。每个人在不同的情绪状态下的语音语调是不同的,通过提取语音、语速、呼吸乃至哭叫等信息,系统可以判断一个人当前的状态。
如果加上咳嗽、打喷嚏等信息,系统还可以进一步判定客户的健康状态。
除了语音信息之外,马桶的冲水声、跑步机的活动声都可以用来判断客户的健康状况。至于电视声、游戏机声和其它的日常活动的声音同样有助于系统分析判断客户的日常作息习惯。
看到这里,你是不是觉得亚马逊和谷歌的这些智能语音设备已经采集丰富的声音信息,并可以以此做出精准的客户画像和分析了?
其实这只是巨大拼图的一部分。
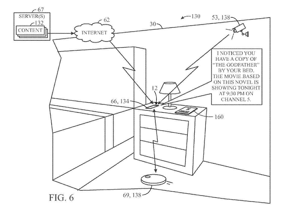
在谷歌2015年获得的“隐私分析个性化内容智能家居”专利(专利号US14/447487)中,展现了这样的应用场景:智能家居摄像头提取到床头书籍的封面,判别为小说《教父》,然后向客户推荐观看当晚5频道播放的同名电影。

谷歌图像识别个性化推荐
你觉得这些这些个性化推荐没什么关系?
事实上,因为视频可以获取的信息远比声音要多得多,所以通过视频内容获取隐私信息会更加容易也更加全面丰富。
首先,家庭结构、性别、年龄、时尚品味、风格、情绪、语言、喜爱的活动,显而易见都是非常容易收集的。除此以外,床边的书、卧室里的吉他或者是篮球,甚至墙上或你穿着的T恤衫上明星的头像都会被识别并记录。
再进一步的,家庭成员之间的分工、互动、乃至各种大宗采购与旅行计划的商定决策过程,都会被各种智能设备一一记录在案。
或许你和太太只是闲聊时谈到家里的汽车有什么小毛病,希望明年发了年终奖考虑买一辆。背后的智能付费广告系统已经向所有汽车厂商明码标价针对你和你太太的各种网页、手机应用和电视的广告位。
或许有读者会说,亚马逊和谷歌虽然申请了这些隐私信息收集专利,但这并不能证明他们已经开始在后台收集并存储智能设备在非激活状态下的信息。
不幸的是,一些蛛丝马迹的现象显示这些厂商或许已经开始悄悄的行动。

美国波特兰的一对夫妻晚上聊天,结果部分对话被家里的Amazon Echo保存下来,并以语音文件的方式转发给了通讯录上的某位朋友。事情被媒体披露以后,Amazon给出的解释如下:
Echo被谈话中某个听起来非常像唤醒词“Alexa”的单词唤醒,然后又仿佛听到了“发送信息”的指令。Echo询问“发给谁”?此时,某个单词听起来很像通讯录中A君的名字。Alexa然后再次询问“发给A君吗”?接着Alexa又仿佛听见单词“是的”。
然后,语音对话就被发送给A君了。
这一切都太巧合了,巧合得让人不敢相信。而且就算是这些巧合都发生了,亚马逊Echo两次大声确认输入指令的时候(一次是确认发送对象、一次是最终确认发送),客户全部都没有听见,这也实在是难以解释。
除了此事,今年媒体报道多个客户家中的亚马逊智能音箱发出莫名其妙的笑声,有时甚至是在半夜,这都让大家对智能音箱的后台运行方式产生了深深的疑问。
如果说公共场合的摄像头+人脸识别是公共安全的需要,导致部分个人隐私权必须让位于公众利益。但你带入家庭内部的智能设备和后台相应的视频/音频采集识别分析系统,则是你自觉自愿地把家庭隐私拱手交与第三方家居智能设备公司。
我们暴露的隐私能换取到什么呢。个性化服务?客户折扣?特殊奖励?仅此而已。和个人隐私安全相比,这些利益和便利实在是不值一提。
面对智能家居设备逐渐开始广泛走进普通居民家庭的现实,法律法规和政府监管能够有效保护相应夫人个人隐私吗?
回答可能是否定的。因为在目前阶段下,政府缺乏隐私数据监管保护的有效手段。
“目前黑市交易可能是中国数据交易的主流。据不完全统计,国内个人信息泄露数达55.3亿条左右,平均每人就有4条相关的个人信息被泄露,这些信息在黑市中反复被倒手。”
我们身边每个人每天都会收到垃圾短信,从一个侧面也反映出目前政府监管的无力。
在相对恶劣的个人隐私保护环境下,就算对于已经破获的案例,政府的处罚也普遍偏轻。
2017年浙江省一起特大侵犯公民个人信息案中,超过7亿条公民信息遭泄露,8000余万条公民信息被贩卖。涉案人的罚金最高只有区区40万元。
在5月1日刚刚生效的中国第一部快递业行政法规《快递暂行条例》中,出售、泄露或者非法提供快递服务过程中知悉的用户信息,情节严重的最高罚款额只有10万元。不论是从法律法规,还是从现有的司法实践来看,政府对于个人隐私的保护力度都还远远不够。
所以我们在将自己的家门向智能家居设备企业打开时,一定要慎之又慎。
当然,有读者说,我相信亚马逊、谷歌这些大公司是会按照政府监管的原则谨守保护客户隐私的义务。但在现今的智能设备市场上,玩家早就不只是亚马逊和谷歌这样的大公司了。

根据strategy Analytics的智能语音设备全球市场数据,在2016年四季度,亚马逊和谷歌占据了96.7%的市场份额,其它厂家只有区区3.3%。到了2018年一季度,亚马逊和谷歌相加的市场份额只有70%,阿里、苹果、小米等厂商异军突起。
除此以外,还有其它厂家占据了近14%的市场份额。

目前中国客户面临的智能语音设备选择,有以腾讯、百度、阿里巴巴、京东、猎豹为代表的软件厂商,以小米为代表的硬件厂商,以海尔、苏宁为代表的家电制造/分销厂商,以出门问问、喜马拉雅为代表的初创企业等等。
在激烈竞争下,智能语音设备甚至出现了一百元以下的产品。
如此价位的产品能够充分满足个人隐私保护的需求,我表示怀疑。并且,把个人隐私的保护寄托于这些大大小小的互联网企业的自觉自愿?在目前中国互联网行业的现状下,我觉得是不够的。
从某搜索引擎在医疗信息服务的表现,到某共享出行企业在管理客户标签的轻慢,都说明了现在中国互联网产业对于隐私保护并不能让用户放心。
除了厂商的主动行为之外,互联网黑产对个人隐私的威胁也不可小视。
最近,某做安全软件起家的大佬公开宣称,其公司有能力劫持任何新版本的Tesla汽车的远程控制权。
但就是打着这家厂商标志的家用摄像头视频在黑市上广泛流传。一旦技术缺陷导致黑客批量劫持智能家居设备并使用AI系统加以甄别提取隐私信息,那使用这些设备的家庭的所有隐私信息相当于都被曝露于光天化日之下。
但是很遗憾,目前中国用户在选购智能语音设备的时候,主要的依据还是功能和价格,对于背后的个人隐私风险往往一无所知。甚至目前在媒体上有关智能家居设备隐私风险的提示都非常少。
作为一个理智的消费者,应该如何从隐私保护的角度选择智能家居厂商呢?
核心就是两点:信任、透明。
- 信任
是基于过往良好的商业记录,让客户对于企业承担隐私数据保护的态度和能力,有充分的信任感。这完全依赖于企业对自身品牌建设的能力。
- 透明
是企业充分披露隐私数据使用和保护的原则与目的。简单说,就是企业明确提取什么样的客户数据,为什么要提取,如何使用这些数据,与哪些第三方共享这些数据,并如何共享等等。甚至进一步明确如果发生隐私数据泄露后如何进行赔偿等等。
对于智能家居设备企业,可以参照美国的非盈利组织EPIC(Electronic Privacy Information Center)向美国联邦贸易委员会(FTC)提交的物联网设备隐私保护原则:
- 使用公平的信息管理实践
- 使用增强的隐私保护技术
- 要求企业尊重客户选择不被跟踪、画像和监控的权利
- 要求企业只收集必要数据
- 确保企业在物联网设备的设计和运营过程中都遵循透明原则
最后需要指出的是,智能家居设备对于人类社会本身就是一个新鲜事务。在尽可能制定详尽的隐私保护与监管规则时,仍然还会面临非常复杂的问题。
我们面临的这些复杂问题往往不是来自于技术或者层面的,而是规则本身,以及规则对于最终用户的接受程度。我们想象这样一个场景:一个暴怒的丈夫持凶器对着妻子威胁说要杀了她,这时房内的智能音箱/摄像头应该自动报警吗?
对于丈夫来说,他当然不愿让智能音箱/摄像头自动报警。
对于妻子呢?回答可能是肯定的,也可能是否定的。这取决于妻子对丈夫威胁真实性的认识。但不管怎么说,这都是非常困难的判断,对于当事人是,对后台AI系统更是。
我们暂时可以放宽心,因为目前市面上所有的智能音箱/摄像头和后台的AI系统都还不提供这样的功能,不论是亚马逊的、谷歌的还是国产品牌的。但如果有一天政府出于对犯罪监管的需要,要求智能家居设备提供类似的功能,你觉得能够接受吗?
或许在那个2016年的春季,一个死亡发生的现场,不管人类是否愿意,他们都已经掉入数字化时代的大网中,无可逃避。
【钛媒体作者介绍:文/我是二姐夫,本文首发于6月25日出版的《财经》】
- 好文

- 钦佩

- 喜欢

- 泪奔

- 可爱

- 思考


凤凰网科技官方微信
视频
-
李咏珍贵私人照曝光:24岁结婚照甜蜜青涩
播放数:145391
-
金庸去世享年94岁,三版“小龙女”李若彤刘亦菲陈妍希悼念
播放数:3277
-
章泽天棒球写真旧照曝光 穿清华校服肤白貌美嫩出水
播放数:143449
-
老年痴呆男子走失10天 在离家1公里工地与工人同住
播放数:165128



