Apple Watch申请血压计专利 腕表测量血压大势所趋
2018年06月08日 22:35:04
来源:爱活网
原标题:Apple Watch申请血压计专利 腕表测量血压大势所趋 苹果在最近获得了一项专利,通过腕
原标题:Apple Watch申请血压计专利 腕表测量血压大势所趋
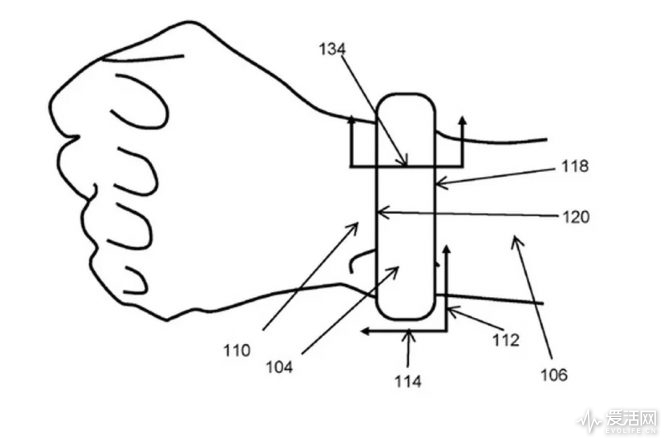
苹果在最近获得了一项专利,通过腕表上的传感器可以检测出血压。是的,不是那种要绑手臂塞听诊器的那种血压计,只需要在腕表上多加几个传感器就能做到。

但不同于前段时间利用心率和脉搏计算血压的华硕VivoWatch BP,苹果的血压监测系统包括压力传感器、可膨胀部件、以及膨胀部件的驱动器三个部分。也就是说,苹果新专利依然是走传统血压测量的原理,只是做到了微型化。

根据专利显示,膨胀部件不会完全对手臂造成压迫感,只是通过执行元件获取压力数值以推算出结果。高血压已经成为医疗领域一项棘手的问题,单纯依靠医院检测或者傻大粗的家用设备无法做到多次不间断测量。

目前在苹果官网正在销售第三方血压计,并将iPhone作为健康管理工具,而将第三方整合到自家生态之下一直是苹果管用手段之一。毕竟作为出货量最大的智能腕表,Apple Watch能做的就是不断整合更多功能了。
- 好文

- 钦佩

- 喜欢

- 泪奔

- 可爱

- 思考


凤凰网科技官方微信
视频
-
李咏珍贵私人照曝光:24岁结婚照甜蜜青涩
播放数:145391
-
金庸去世享年94岁,三版“小龙女”李若彤刘亦菲陈妍希悼念
播放数:3277
-
章泽天棒球写真旧照曝光 穿清华校服肤白貌美嫩出水
播放数:143449
-
老年痴呆男子走失10天 在离家1公里工地与工人同住
播放数:165128


