平面镜头专利曝光:下一代HoloLens有望做到更小
2017年10月31日 12:06:07
来源:太平洋电脑网
原标题:平面镜头专利曝光:下一代HoloLens有望做到更小 距离微软向开发者们出货 HoloLen
原标题:平面镜头专利曝光:下一代HoloLens有望做到更小
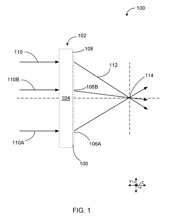
距离微软向开发者们出货 HoloLens 混合现实头戴装置已有一年多的时间,虽然该公司的产品技术遥遥领先一众 HMD 竞争对手,但在它的佩戴变得更舒适之前,市场还是很难爆发出来的。 好消息是,微软似乎已经为新款 HoloLens 设备申请了一项带有红外发射和接收传感器的平面镜头专利。 今年 4 月提交的该专利,全称为“可以被整合到头戴显示装置中的平面镜头影像设备与系统”。

与传统曲面光学镜头方案相比,平面镜头装置的体型可以做到更小。
今年早些时候, 微软 研发部门展示了一款近眼全息显示装置的原型。它的外观看起来和一副太阳镜差不多,给我们留下了深刻的印象(虽然大部分电子部件都被外挂)。

- 好文

- 钦佩

- 喜欢

- 泪奔

- 可爱

- 思考


凤凰科技官方微信
视频
-
李咏珍贵私人照曝光:24岁结婚照甜蜜青涩
播放数:145391
-
金庸去世享年94岁,三版“小龙女”李若彤刘亦菲陈妍希悼念
播放数:3277
-
章泽天棒球写真旧照曝光 穿清华校服肤白貌美嫩出水
播放数:143449
-
老年痴呆男子走失10天 在离家1公里工地与工人同住
播放数:165128



