八仙过海各显神通:打印机怎么知道没有墨水了?
2017年10月24日 06:01:02
来源:ZOL中关村在线
作者:中关村在线
原标题:八仙过海各显神通:打印机怎么知道没有墨水了? 【中关村在线原创】所有开车的人都知道仪表盘上有
原标题:八仙过海各显神通:打印机怎么知道没有墨水了?
【中关村在线原创】所有开车的人都知道仪表盘上有个油量表,可以比较准确的预估剩余的油量。汽车的邮箱容积最小也有几十升,所以在里面放上传感器不算多复杂的技术。但是打印机就不一样了,打印机的墨盒很小,怎么才能在小墨盒里面知道还剩下多少墨水呢?不同的企业给出了不同的办法,商场即战场,保护墨盒就是保护企业的核心利益,但这背后是高科技。

打印机怎么知道墨水没有了?靠的是精妙的设计和高科技
越小越难实现
想象一下:您在高速公路上开车,但是发现居然没有油量表,随时可能没油,或是凭借经验来估算需要加油。这显然比较盲目,但是在喷墨打印机诞生之后的很长一段时间里,工作的模式其实差不多是这个样子,用户不知道墨盒还剩下多少墨水。

早期的打印机是不知道还有多少墨水剩余的
作为打印机企业,当时的佳能、惠普、IBM(后来的利盟)尽管可能考虑了这个问题,但是问题比较棘手,相关的专利普遍都是1990年代的,而喷墨打印机是1980年代就开始销售的产品,这两者之间时间间隔很长。而爱普生的微压电技术推出时已经是1990年之后的事情了。

汽车油箱可以用较大的零件来实现油量感知,但是打印机墨盒太小了
为什么棘手?因为汽车油箱大,一个浮子和不复杂的可变电阻就解决了剩余油量计算的问题,但是打印机的墨盒小,这些东西装不进去,只能想别的办法。开始的时候想出的办法和汽车差不多,也是通过电极测量电阻,当墨水减少之后,电阻会变化。但是这样就有了条件即墨水必须要导电才行,而墨水的水是纯水并不导电,需要导电的染料,这就限制了墨水的种类,而且会导致墨盒复杂化成本过高。

并且打印机的墨水大多数是染料墨水,所以尽量都是不透明的墨盒。怎么才能在密闭的小盒子里获得里面还剩下多少墨水的信息呢?本文就是通过解析惠普、佳能、爱普生的专利来向大家解释打印机是怎么知道还有多少墨水的。
惠普与墨滴计数
在1995年,中国惠普向中国专利局申请了专利,名字叫做“用于喷墨打印系统的具有油墨保有量检测电路的油墨容器及确定油墨保有量的方法“,中国专利号CN1151362C。

墨盒内的吸水材料有防止墨水因为重力淌出的作用
这里要先明确的是几个问题。首先墨盒里面为何有很多聚合物”棉花“一样的东西?因为墨盒是向下的,液体的特性就是要向下流动,墨盒首先要保障不会自己就往下流淌。要知道最早的喷墨打印产品都是水平发射的。所以实现的办法就是要利用好表面张力,或是负压。

左侧的就是喷嘴,用加热沸腾的办法来喷出墨水
惠普专利的核心在于墨滴计数。我们知道热发泡打印技术,原理是喷嘴附近有个电阻,这个电阻加热导致墨水沸腾、喷出墨水。可以通过输送给打印头多少加热墨水的信号,来估算喷射出去墨水的数量,这是统计方法之一。

连接打印头的芯片来进行余量计数

惠普的核心是计算墨滴数量来获得消耗信息
当然这种办法不够准确,因为沸腾喷射出去的墨滴大小一致性一般,所以容易产生累计的误差导致算不准。所以,惠普将这个称之为近似计数,这是一个8位的二进制数据,可以表示2的8次幂,也就是256位。

惠普会通过精确的统计来装入比预计的量多一点的墨水
在墨盒生产之前,惠普会进行测试,根据注入的墨水量和喷射的墨滴数来获得一个数据,这个称之为精确计数。墨盒上的芯片写有这个数据,也就是每次256位计数写满的时候,会触发一次精确计数,这个数字是墨盒墨水量的12.5%,也就是八分之一,然后这个8位二进制数再重新开始计算,这样8次过后就把一个墨盒消耗完成。在墨盒内部也有传感器,来检测墨水剩余的情况。这个数据会返回给计算机,这样计算机就知道消耗了多少墨水,驱动程序就能显示墨水的剩余状态。
佳能的红光
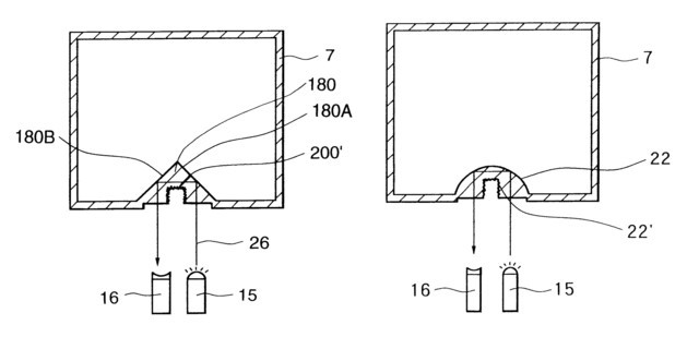
佳能的打印机,在有打印头的墨盒上采用的墨水统计算法和惠普应该是一致的,这与佳能、惠普多年来的合作不无关系,双方在打印领域的专利有多种授权方式。不过佳能的一些高端墨盒、打印头独立的产品上,可以看到在墨盒安放位置有红光。

佳能PRO-100打印机的红光

每个墨盒底部都有一个三角棱镜
这种技术是通过墨盒底部的棱镜以及LED来进行液面检测,佳能在1998年于美国注册了这个专利,专利号为US6361136B1。这种技术是用来检测当墨水即将耗尽的时候进行墨水余量的感知。而耗尽前的感知还是同过墨滴计数一类的办法来实现的。

佳能设计了两个方案,产品上用的左边棱镜的

墨盒底部小棱镜放大的结构示意图
在专利中,佳能设计了多种墨水感知的方案。而在实际的产品上,我们看到佳能应用的是三角形的小棱镜。这个装置的细节如图,剖面上可以看到一侧的发光装置以及另外一侧的接收器。

棱镜检测的原理:有没有墨水反射回来的光不一样,接收器可知
当墨盒中墨水没有的时候,这个小三角棱镜与液体之间,会形成一个类似全反射棱镜的现象,这样另外一侧接收器接收到的信号强度很高。而当墨水液面高于棱镜的时候,开始有光穿透棱镜散射到了墨水中,接收端探测到返回的光量比较少,这样机器就知道了墨水还足够。
爱普生的微压电震荡检测
我们知道爱普生用的是微压电打印技术,这和佳能、惠普的热发泡技术完全不一样,他是依靠压电晶体的形变将墨水从页面推出。这个推出过程中,液体会形成震荡,爱普生的墨水余量计算就是利用这种震荡。爱普生的墨水检测专利在中国的专利号是CN1380852A。

爱普生微压电的原理:压电块加压后会变形挤出墨水,这会产生震荡
爱普生的墨水计算一样离不开估算。这种估算是基于压电信号的多少已经墨滴的大小,因为微压电技术对这两个状态的控制更精确一些,所以可以建立一个基于打印多少墨滴的估算值。

爱普生同过压电器件的输出变化来判断墨水消耗
爱普生的微压电打印头上装有传感器,当一定量的墨水同过打印头的时候,压电器件的输出会有很大的变化,利用这种变化,就可以得知墨盒为空和墨盒充满墨水时候输出的不同,这两个值之间来判断墨水比较精确的消耗。这个数据和前面的估算值进行比较、矫正,就可以比较精确的知道墨水用了多少。这个数据会在墨盒上的芯片不断的累计,并同过驱动程序来为用户提供可视化的余量显示。

墨盒显示用完了还剩一点点,也是对打印头的保护
无论是哪一家的办法,我们都可以看到都难言完美的检测到底还有多少。所以墨盒余量设计的初衷,就是保障在尽可能多的消耗,也不会出现墨水消耗没了、但是驱动程序显示墨水还有一点点的现象,一定是驱动程序显示墨水已经没有提示更换,但实际墨盒里还有一点点。这也是在保护打印头,比如热发泡的打印头,电阻干烧没有墨水会让打印头容易损坏。而打印机企业在墨盒里灌注的时候,也比标称的容量多灌注大约10%左右作为冗余。

油量不足还能跑一段,也是对发动机的保护,打印机同理
- 好文

- 钦佩

- 喜欢

- 泪奔

- 可爱

- 思考


凤凰科技官方微信
视频
-
李咏珍贵私人照曝光:24岁结婚照甜蜜青涩
播放数:145391
-
金庸去世享年94岁,三版“小龙女”李若彤刘亦菲陈妍希悼念
播放数:3277
-
章泽天棒球写真旧照曝光 穿清华校服肤白貌美嫩出水
播放数:143449
-
老年痴呆男子走失10天 在离家1公里工地与工人同住
播放数:165128


