【晚报】就在刚刚,马云和李健“深情”对唱
2017年10月11日 23:01:05
来源:虎嗅APP
作者:乌鸦骑警
原标题:【晚报】就在刚刚,马云和李健“深情”对唱 全天重点资讯,尽在虎嗅晚报,大家好。 先推个刚刚发
原标题:【晚报】就在刚刚,马云和李健“深情”对唱

全天重点资讯,尽在虎嗅晚报,大家好。
先推个刚刚发生的新闻,在阿里云栖大会上,马云压轴出场,演唱了三首歌曲:《Unchained Melody》、《我终于失去了你》和《当我想你的时候》。

值得一提的是,马云还和李健“深情”对唱,这场面看上去有点意思:


阿里出了个达摩院,但此DAMO非彼“达摩”
即时新闻讲完,咱们回过头来梳理下全天资讯。
头条新闻还是阿里,关键词是“达摩院”。这个词来自今年的阿里云栖大会第一天,完整的名字叫作阿里巴巴达摩院。
一提达摩院,很多朋友首先想到的就是武侠小说里少林寺的达摩院,而阿里之所以起这个名,确实也跟马云的武侠情结关系密切。和武侠小说中的“武学最高研究机构”相类似,阿里的达摩院也是以“科研”为关键词。
按照官方的解释,阿里版达摩,也就是DAMO,代表的是“The Academy for Discovery, Adventure, Momentum and Outlook”,翻译过来就是“致力于探索科技未知,以人类愿景为驱动力的研究院”。

这愿景当然伟大,但伟大的愿景也需要财力来支撑,阿里计划三年内为达摩院投资1000亿人民币,目标是“建造一个以科技为核心的,汇聚全球顶尖科技大牛、学者的交流中心”。
不过就是这个目标现在看来也有点虚,列为看官还是慢慢观察吧,看看再过个三五年,达摩院会是怎样一番景象;看看三五年后,有达摩院加持的阿里会有什么变化。至于现在,您可以读读这篇云栖会现场发来的热到发烫的新鲜报道,瞅一眼马云在会上又说了些啥:《马云:若只是挖空心思赚钱,阿里巴巴就是一家没出息的公司》。
王者荣耀年终奖达100个月工资?
以阿里和腾讯之间的“亲密”关系,您都不用多想就知道腾讯肯定不会让阿里专美。就在马云在云栖会上指点江山,霸住大小媒体头条版面不撒手的当口,微博出了一个“谣言”——王者荣耀团队年终奖达到100个月工资。
精短明快但极富冲击力。
但不管多有劲道,既然说是谣言那就肯定会有官方澄清。腾讯游戏对此事的态度是:

你看,辟个谣也不好好辟,说是“不属实”,但又不说年终奖到底是多少;下面那个来自“腾讯员工”的“120个月”更是吸睛(如果不说“辣眼睛”的话)——这哥们是想辟谣呢,还是想炫耀呢?
就在众人还在猜测、嗟叹,感慨的时候,脑子转的快的哥们已经反应过来了:敢情这是个“踢馆”阿里头条的行动啊~

好吧,就当是套路好了。
中通韵达开涨快递费,顺丰表示“不跟进”
阿里腾讯的头条大战说完,该说说跟“剁手党”关系密切的事了。其实乌骑纠结了好久要不要把这事儿当头条,因为它虽然不算个特别大的事,但关注度却一点都不比上面俩事小,因为——快递费要涨价了。
起头的是中通,跟风的是韵达。关于涨价的理由,两家不约而同的都提到了“人力、物料以及运营成本攀升”。

眼看“双十一”临近,再想想“三通一达”的微妙关系,“剁手党”们自然秒懂了这件事可能的发展趋势。不过还没等他们琢磨好“包邮价”会不会因此而大受影响的时候,更大的“大佬”,菜鸟出场了。
菜鸟网络的“内部人士”的表态是,“中国快递价格普遍偏低,价格调整体现出他们提升服务品质的决心”。
四个字概括——涨就对了。
但顺丰可不这么想,顺丰的回答干脆利落:
“不跟进。”
于是不少“剁手党”纷纷表示,这才是业界良心啊~
可是想想顺丰和三通一达的价格差异和大部分店铺的包邮合作方,也很难说顺丰的“不跟进”就一定会给目前的快递市场份额带来多大的巨变。
其实涨价的原因很好理解,联想到十一前后不断传出的“快递过度包装”话题,纸制品涨价话题,甚至再想想从年初到现在,一直没停下过的快递员和外卖小哥的职业选择问题,至少“物料和人力成本”上涨这两条,乌骑我是认的。
仲裁结果下来了,但乐视系员工还在为工资发愁
不定期出来大新闻的乐视又如约为我们带来了最新的“月经贴”式问题——乐视发工资了吗?
本月,乐视旗下又有公司又没发出薪水,而离职员工的赔偿金也依然遥遥无期。此前乐视员工因被拖欠离职补偿金申请仲裁,近日仲裁结果下来了,要求乐视在一定时间内还清欠款,否则将强制执行。

但这样的调解结果也并不能消除乐视员工的担心。因为就算是强制执行,也还需要一段时间,谁也不知道究竟什么时候工资能发下来。现场仲裁院工作人员表示,具体需要多长时间不能保证,有的公司3天就执行了,有的公司需要好几个月。
联想到上个月贾总还“风尘仆仆”的跑到香港来为员工工资而奔波(甚至有传言说他那会儿回过大陆),这个月的贾总倒是很平静。暂时没有他回国的消息,也没有他四处找钱的消息。
但这也正常,乐视都叫“新乐视”了,您还指望这位“退位皇帝”做些什么呢?
说两则融资信息
同城货运O2O平台货拉拉宣布完成C轮1亿美元融资,本轮融资由顺为资本领投,襄禾资本、概念资本等原有投资机构跟投。
货拉拉创始人兼CEO 周胜馥表示,本轮融资主要用于已落地城市的深耕运营,以及2B产品新业务的拓展。
这是货拉拉创立以来金额最大的一次融资,此轮过后累计融资总额达1亿6000万美元。

另一个获得可观资金的是一家共享健身仓企业。
觅跑科技今天宣布,他们在9月份完成了第三轮7500万的A轮融资,领投方为国家中小企业发展基金(国中创投);天使轮及Pre-A的所有投资方,经纬创投、合鲸资本、信中利资本全部参与跟投。
自3月份觅跑第一台跑步仓落地,公司融资总额已经达到1亿人民币。

那英退出《中国新歌声》
国内方面最后一则消息是跟综艺节目有关。今天的消息,那英工作室发出声明,宣布那英将不再参与后续《中国新歌声》的节目录制。

既然每季“新歌声”都会有传闻说那英要离开,那么她这次选择退出也就没啥令人惊讶的了。
但其实这次那英的离开所引发人们讨论的是,“新歌声”未来要怎么改变?自从本季开播起,有关“学员素质不高”、“制作思路老套”的声音就一直没平息过。相比隔壁爱奇艺的《中国有嘻哈》,本季的“新歌声”确实有些平淡。那未来是否会有变化呢?换导师?换模式?还是干脆连制作团队都换血?
如果把这些问题抛给“新歌声”的制作团,我估计他们的答案肯定有这句:
“中国观众太容易厌倦了。”
是啊,中国观众一直很难伺候,从“超级女生”、“快乐男声”到“中国好声音”(“新歌声”前身),“我是歌手”,再到“跨界歌王”、“蒙面唱将”,中国歌曲类综艺节目一直在想办法抓住观众的心,但谁会想到,这届观众会突然迷上了“嘻哈”?
但话又说回来,“有嘻哈”又能维持几年的火爆呢?
正所谓亢龙有悔,盈不可久啊~
Office 2007即将退役
视角转向国外,先来看个跟咱关系比较密切的,微软的Office 2007即将退役了。
今天是微软例行的Patch Tuesday(周二补丁日),除了Windows 10/8.1/7 SP1等操作系统收获更新,Office套件也纷纷升级。不过,微软同时宣布,今天的Office 2007将是最后一次例行更新,从此之后告别主流和扩展支持,再和微软无关。官方建议相关用户尤其是企业级和IT专业人士尽快换用Office 365订阅服务。

不知有多少人现在的电脑里还在用Office 2007呢?没办法,Office 2016都出了好久了,老版的2007确实也该退了。
值得一提的是,微软此前透露,明年中下旬将推出Office 2019。
所以Office 2010的大限也不远了……
海量用户医疗数据泄露,亚马逊服务器惹上麻烦了
再来个跟咱国内关系不太大,但在美国国内比较劲爆的——亚马逊泄露用户医疗数据。
这件事准确的说,“背锅”的是亚马逊的服务器。
按照安全研究机构Kromtech Security Researchers的说法,一家医疗服务机构存储在亚马逊S3上的大约47GB医疗数据意外对公众开放,其中包含315363份PDF文件。
这家安全机构估计,这些文件至少涉及15万病人,泄露的内容包括验血结果以及姓名和家庭住址等个人信息,另外还有医生和他们的病例管理笔记等内容。
很显然,此次数据曝光是一场严重的隐私泄密事件,而且违反了HIPPA法案(不了解这个法案的同学可以自行查询),但亚马逊方面目前还没有回应。
虽说泄露信息的直接责任人不一定是亚马逊的工作人员(毕竟数据持有方也就是相关医疗机构更像是第一嫌疑人),但既然是大公司,就难免面对最直接的批评和指责。且看亚马逊要怎么应对吧~
苹果也在研发折叠手机
大家都知道三星要出折叠手机,但据韩国媒体爆料,其实苹果也在研究这项“黑科技”。
据韩国先驱报报道,苹果正在规划折叠屏产品,目前处于原型研发阶段。该报甚至指出,苹果已选定LG作为其柔性OLED屏提供商。而后者现在正大力投资OLED中小尺寸的屏幕建厂。预计最快2019年,最慢2020年,这种柔性OLED屏就将进入苹果供应链。

这么大的事儿,苹果为何一点风声都没陆?该报给的原因很简单:担心三星窃取自己的设计创意。
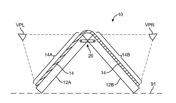
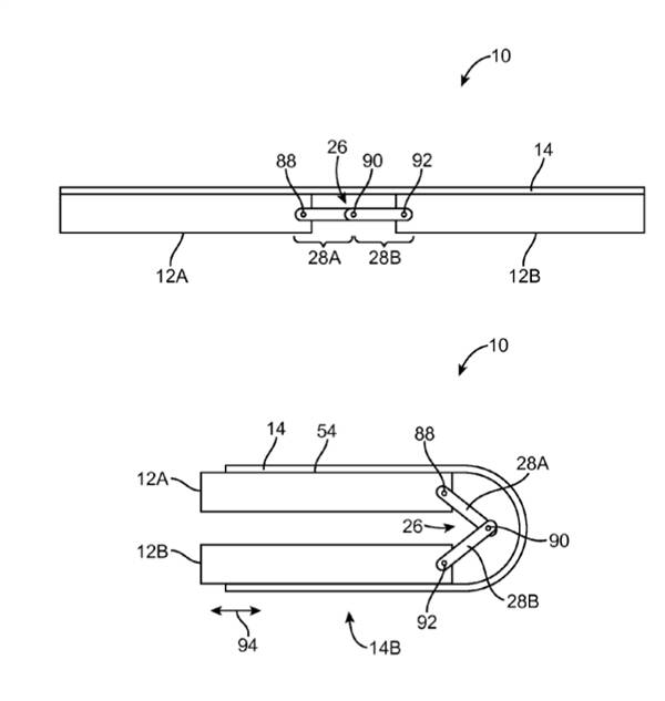
既然这么神秘,那咱就速速看看苹果的设计创意吧:


- 好文

- 钦佩

- 喜欢

- 泪奔

- 可爱

- 思考


凤凰科技官方微信
视频
-
李咏珍贵私人照曝光:24岁结婚照甜蜜青涩
播放数:145391
-
金庸去世享年94岁,三版“小龙女”李若彤刘亦菲陈妍希悼念
播放数:3277
-
章泽天棒球写真旧照曝光 穿清华校服肤白貌美嫩出水
播放数:143449
-
老年痴呆男子走失10天 在离家1公里工地与工人同住
播放数:165128



