硅谷大佬都想上天:谷歌创始人秘密投资飞行汽车
2016年06月28日 07:05
来源:澎湃新闻网 作者:王心馨
据彭博社的报道,全球范围内有十多家公司正在开发飞行汽车原型,其中既有初创公司,也有航空制造商巨头。
或许在我们每个人的内心深处,都有一颗想征服天空的心。
对于硅谷的科技大佬来说,天空更是他们一展抱负的领域。众所周知的有特斯拉CEO埃隆·马斯克和亚马逊CEO杰夫·贝佐斯(Jeff Bezos),他们都创办了自己的航空航天公司。更为神秘的是谷歌创始人之一拉里·佩奇,他在2010年投资了Zee.Aero公司,并严令禁止该公司透露他和公司的关系。

谷歌创始人之一拉里·佩奇。
那么这家Zee.Aero公司究竟有什么神奇的魔力能吸引到佩奇的投资?
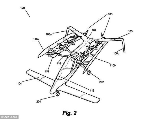
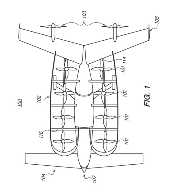
Zee.Aero成立于2010年,致力于研发能够垂直起飞和降落的小型全电动飞机。2011年公司申请了飞行汽车设计专利。


Zee.Aero公布的专利图片。
根据专利公布的图片和介绍,公司希望能生产一种安全、安静、易控制、高效又紧凑的垂直升降飞机。由多个螺旋桨提供升力,同时增加了两个前进动力的推进螺旋桨。

飞行汽车的原型机
从载人航空角度上看,这样的结构称不上是最优方案。民用直升机市场从未出现过四轴或是更多螺旋桨的机型,而是清一色的传统旋翼加尾浆结构。小尺寸螺旋桨在降落时更容易进入一种被称为“涡流环”的危险状态,简单来说,就是直升飞机在降落时候容易打滑。这对于直升飞机来说已经是安全问题的涡流环,可能会在多螺旋桨的载人飞行器上更加严重。
不过飞行汽车的相关技术在不断改进,更优质的材料和更先进的自主导航系统也在研发中。
NASA近期公布的X-57混合动力飞机,机翼的螺旋桨设计与Zee.Aero的设计有相似之处,该款飞机已经完成测试飞行,巡航速度可到175英里/小时。
NASA航空工程师马克·摩尔表示:“过去五年,相关技术取得了巨大的进展。未来5至10年将问世的产品会令人难以置信。”
Zee.Aero目前有近150名员工。业务已经扩大到旧金山山景城以南约70分钟车程的霍利斯特的一个机场机库,在这里,有两架原型机进行定期飞行测试。该公司还在山景城边缘的美国国家航空航天局(NASA)阿姆斯研究中心拥有一处制造设施。
佩奇与Zee.Aero之间的神秘关系一度让外界认为这是一家属于谷歌母公司的企业。佩奇在Zee.Aero公司还有独享的私人空间,因此Zee.Aero的员工总称佩奇为GUS,意识是the guy upstairs(楼上那个家伙)。到目前为止,佩奇已经为Zee.Aero投入了超过1亿美元,但投资远未结束。
除了投资Zee.Aero外,佩奇还投资了Kitty Hawk。Kitty Hawk的总裁是塞巴斯蒂安·史朗(Sebastian Thrun),他同时也是谷歌自动驾驶汽车项目的负责人及神秘研究所Google X的创始人。
据彭博社的报道,全球范围内有十多家公司正在开发飞行汽车原型,其中既有初创公司,也有航空制造商巨头。在这条道路上走得最远的似乎还是佩奇正在悄悄资助的公司。![]()
[责任编辑:马晓宁 PT007]
责任编辑:马晓宁 PT007
- 笑抽

- 泪奔

- 惊呆

- 无聊

- 气炸


凤凰科技官方微信
视频
-
李咏珍贵私人照曝光:24岁结婚照甜蜜青涩
播放数:145391
-
金庸去世享年94岁,三版“小龙女”李若彤刘亦菲陈妍希悼念
播放数:3277
-
章泽天棒球写真旧照曝光 穿清华校服肤白貌美嫩出水
播放数:143449
-
老年痴呆男子走失10天 在离家1公里工地与工人同住
播放数:165128


